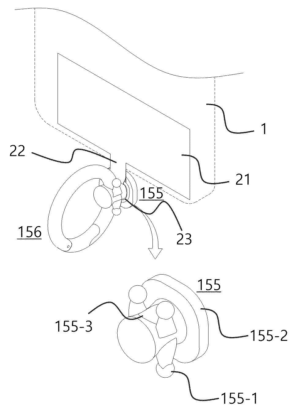
핑거룹1
- 제품명
- 핑거룹1
- 재질
- 실리콘/TPU
- 색상
- 크기/무게
- 제조 국가
- 중국 OEM
- 디자인
- TL Global Ltd. (대한민국)
- 제조 및 판매사
- TL Global Ltd. (대한민국)
- 특허
- - 10-2023-0111616(KR) - ZL202322567676.6(CN) - 10-2024-0127652(KR) - 113210201(TW) - 202322567676.6(CN) - HAGUE DM/238465 - 00000000000(IN) - 00000000000(ID) - D236145(TW) - 202417428(AU) *주의사항 : 현시점에 본 사이트에 등록되어 있는 판매계정들만 도매 판매를 할 수 있습니다. 여타 공급처에서의 구매는 특허침해에 해당하여 판매가 불가할 수 있으니 바이어들은 유의하시기 바랍니다.
- 구매처

